
致远互联披露一季报,公司2026年一季度实现营业收入1.29亿元,同比增长22.21%;归母净利润亏损6499.09万元。
举报 第一财经广告合作,请点击这里此内容为第一财经原创,著作权归第一财经所有。未经第一财经书面授权,不得以任何方式加以使用,包括转载、摘编、复制或建立镜像。第一财经保留追究侵权者法律责任的权利。如需获得授权请联系第一财经版权部:banquan@yicai.com 相关阅读
国产光纤全球爆单 部分产品价格暴涨650%国产光纤全球爆单 部分产品价格暴涨650%
267 04-18 22:53
圣阳股份今日涨停,有3家机构专用席位净卖出9619.16万元圣阳股份今日涨停,有3家机构专用席位净卖出9619.16万元
04-15 16:59
金陵体育今日涨20.00% 3家机构专用席位净买入7583.36万元金陵体育今日涨20.00% 3家机构专用席位净买入7583.36万元
04-07 16:33
准油股份今日涨停,有3家机构专用席位净卖出5371.75万元准油股份今日涨停,有3家机构专用席位净卖出5371.75万元
18 03-04 16:36
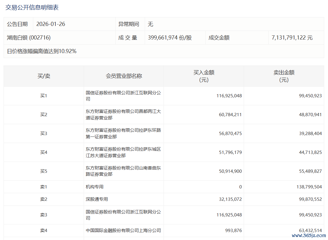
湖南白银今日涨停,有1家机构专用席位净卖出1.39亿元湖南白银今日涨停,有1家机构专用席位净卖出1.39亿元
16 01-26 16:27 一财最热 点击关闭益通网提示:文章来自网络,不代表本站观点。