
今日(11月26日)A股共63只个股发生大宗交易,总成交15.7亿元间群策略,其中中际旭创、今创集团、立讯精密成交额居前间群策略,成交额依次为7.26亿元、1.0亿元、5442.04万元。成交价方面,共11只股票平价成交,3只股票溢价成交间群策略,49只股票折价成交;*ST天山、交通银行、赛恩斯溢价率居前,溢价率依次为16.39%、0.78%、0.02%;炬光科技、维远股份、国光连锁折价率居前,折价率依次为19.35%、18.18%、18.18%。机构专用席位买入额排名:中际旭创(7.26亿元)、立讯精密(5442.04万元)、玲珑轮胎(4494.98万元)、佰维存储(3564.54万元)、宁德时代(2684.3万元)、微芯生物(2541.55万元)、三一重能(2371.5万元)、浙文互联(2153.8万元)、翱捷科技-U(1509.38万元)、浙矿股份(1153万元)、华海药业(1036.55万元)、北京人力(900万元)、科力尔(803.65万元)、中矿资源(588.16万元)、盛弘股份(546.16万元)、惠泰医疗(503.94万元)、国光连锁(500.63万元)、星云股份(397.83万元)、易瑞生物(349.6万元)、天创时尚(335万元)、艾布鲁(327.1万元)。机构专用席位卖出额排名:宁德时代(5033.07万元)、玲珑轮胎(4494.98万元)、立讯精密(2721.02万元)、万达信息(1065万元)、中矿资源(588.16万元)、华达科技(496.11万元)。
举报 第一财经广告合作,请点击这里此内容为第一财经原创,著作权归第一财经所有。未经第一财经书面授权,不得以任何方式加以使用,包括转载、摘编、复制或建立镜像。第一财经保留追究侵权者法律责任的权利。如需获得授权请联系第一财经版权部:banquan@yicai.com 相关阅读
杠杆资金本周重仓股曝光 宁德时代居首杠杆资金本周重仓股曝光 宁德时代居首
0 11-16 14:59
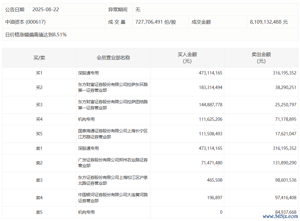
中油资本今日涨停 中国银河大连黄河路席位净卖出9721.95万元中油资本今日涨停 中国银河大连黄河路席位净卖出9721.95万元
0 08-22 16:44
杠杆资金本周重仓股曝光 新易盛居首杠杆资金本周重仓股曝光 新易盛居首
16 08-17 21:43
主力今日尾盘买卖这些个股主力今日尾盘买卖这些个股
0 08-01 16:10
大位科技今日涨7.17% 沪股通席位买入2.02亿元并卖出9719.55万元间群策略大位科技今日涨7.17% 沪股通席位买入2.02亿元并卖出9719.55万元
0 07-16 16:51 一财最热 点击关闭益通网提示:文章来自网络,不代表本站观点。